又一深圳货代恐暴雷?
“货代暴雷年年有,今年还是一样多。”
在跨境圈内,货代暴雷可谓属于“高频事件”。多家货代企业的相继暴雷使卖家在愁单量的同时,还要谨防货物的运程问题。
“货代出事,留着要上架的我在风中凌乱,有时候还要贴钱赎货……”

深圳一货代企业深陷经营泥泞
上周,深圳睿*国际物流有限公司发布了一条情况通知,称因亏损加剧、资不抵债,无法向合作的供应商代理偿付款项,且为节省开支,公司将搬离原地址。

在其情况通知书中,深圳睿*国际物流有限公司对其亏损原因做了说明,即:1、今年以来跨境货量下降;2、公司陷入了严重的三角债务困局,应收款项未能及时收回;3、历经欧美市场风险,利润所剩无几。
先后卷进去年欧洲大查验和今年美国跑水账户核查等风波的深圳睿*如今亏损累累、资不抵债,为降低成本支出、早日偿还欠款,其不得不搬离原址。
相较以往暴雷货代的“跑路”操作,该公司表现得较有责任心,表示公司还在继续经营,如果合作的供应商代理无法继续等待还款,可通过法律等合法途径来解决,但还是希望大家能给予更多时间。
天眼查信息也显示,该企业仍处于存续状态。亿恩网还获悉,深圳睿*成立时间较短,2020年7月21日才成立,满打满算还差几天才成立3年。
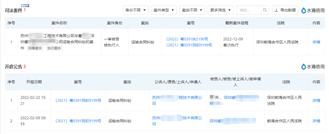
同时,其也背着一条司法风险,去年,苏州一工程技术公司因运输合同纠纷将该公司及其法人诉诸法院。

在发出的情况说明书中,深圳睿*提示合作方要对这一情况进行保密,以免造成不良影响,大概是担心负面声音太多,影响后续经营。

货代揽货抢破头,“0元抢货”频现
上述深圳睿*提到亏损的其中原因之一是“货量起不来”。
这并不仅仅是个例。当前出口市场表现较低迷,就以跨境最大市场——美国为例,多个港口的集装箱吞吐量仍在下降。
6 月,洛杉矶港口集装箱吞吐量为83.3035万个标准箱,创去年7月以来最佳表现,但仍较去年同月下降5%,其中进口集装箱下降 34%。
今年上半年,加州港口吞吐量较2022年同期相比下降了 24%,长滩港则下降了25.5%。
Descartes Datamyne的统计数据显示,6月亚洲十大经济体对美国的集装箱出口量达到147.3191万标准箱,同比下降13%,延续11个月下降趋势。
其中,中国大陆包括港澳的出口量下降17%,达到84.47万标准箱,这是连续第十个月下降。
就上半年(1-6月)数据来说,亚洲向美国出口集装箱817.116万标准箱,同比下降21.8%,而中国对美国出口下降25%至465.2731万个标准箱。
早前一货代跟亿恩网表示,今年以来,其公司货量大概下降了50%左右。
整体货量市场在紧缩,且这种紧缩趋势仍在加剧,毫不意外地导致了行业竞争的白热化。
为抢到更多客户,货代企业给出的价格“卷进地心”,低价低到“0元”。
“之前合作的货代在朋友圈发出‘0元发货’名额限量抢,这种情况要不是为了装满柜子,要不就是有敏感货好在海关打掩护。要是真的合作了,查出来我的货也要连带了,这种便宜不能随便占。”一卖家对亿恩网说到。
“但凡有‘0元收货’这种方式的货代都不敢合作,就算交了钱,也不敢保证自己的货是否能顺利到,指不定他出事了,我的货还在海上飘着,找不到呢。”
对于“0元揽货”,卖家们的戒备心非常重,毕竟“无利可图”的生意不符合商人特性。“天下没有免费的午餐”,看不见的隐患成本才是卖家们难以承担的。

“货代黑名单”常更新,卖家防不胜防
部分卖家认为这类有“0元揽货”业务的货代企业不能合作。
而在跨境圈内,还存在着一份“货代黑名单”,信息共享的卖家们避开黑名单上的货代企业,找寻安全性更高的来进行合作。毕竟谁也不想还没上架就先丢货,不想白白承受一笔损失。
但这份黑名单更新频率之高也令卖家咋舌,“本来还沾沾自喜自己运气好,碰到一个还可以的货代公司,没想到下一秒就发现上榜了,就连头部企业都能跑路。”
前不久深圳快捷舰的暴雷引起跨境圈的一阵轰动,作为头部货代企业,不少卖家将货物交与其发向海外市场,但未曾想,如此知名的企业都能暴雷,甚至还告知部分卖家要拿钱赎货。
而自其暴雷以来,业内货代暴雷的消息便蜂拥而至。
6月,凯琦、纽酷、联宇等货代企业就暴雷消息相继发出否认声明,称这些消息是同行放弃竞争底线、恶意抢夺客源的操作。
7月,蓝玛特传出使用UPS跑水账号、贴虚假面单,导致多个卖家货物被扣押的消息。但后续其表示这些均为不实言论,将交与法务团队截图取证;还呼吁同行合规经营、理性竞争,勿用不当手段扰乱市场秩序。
无论是凯琦、纽酷、联宇,还是蓝玛特,都倾向于将这些言论的散发归为同行的不当竞争手段。事实究竟如何,我们也不得而知。但货代行业的“稳定性”和“安全性”历来饱受卖家争议。
“——现在跨境圈内能信任的货代还有吗?
——以前交货给货代都不需要担心,后来看货代都是半信半疑,现在看每个货代都觉得脸上写满了‘不靠谱’。
——比没单、没利润更可怕的是,遇到不可靠的货代。前者是天灾,后者是人祸,明明可以避免。
——到底谁能肃清下货代圈,三天两头一个暴雷,发货都胆战心惊的。
——货代圈太乱了,服务质量参差不齐,售后问题一大堆。
……”
卖家们踩过货代的雷,甚至不止一次。对他们而言,货代出事,货物就面临着巨大的到达风险,赶不上上架,那么苦心经营的店铺就承受断货下架的后果,遑论精力付出,仅这其中的种种经济成本损失就不是个小数目。
热门文章